据外媒报道,特斯拉一直致力于提升汽车系统的效率,近日,就申请了一项新专利,旨在使动力辅助转向系统更高效。此前,特斯拉已经研发了更高效的电磁雨刮器以及更高效的汽车座椅温控系统,现在特斯拉申请了一项有关动力辅助转向系统的新专利,而且表示新系统更紧凑、更节能。

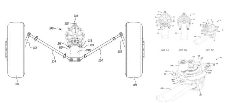
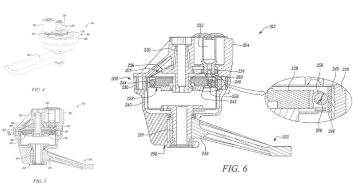
与市场上其他的转向系统相比,该转向系统更紧凑、占据的空间更少,而且不需要大量额外的动力以支持其运作。
根据专利申请显示,该系统由特斯拉的资深机械设计工程师Mark Kaufman设计,Mark Kaufma还负责设计Model X车型鹰翼门的上部框架以及车轮。

特斯拉在专利中指出,传统的动力转向系统通常是液压型,大多体积庞大,占用空间大,因此此类系统会使用气缸、泵、软管、控制阀等组件。而且,此类系统的设计也很复杂,增加了车辆的成本。最后,传统的动力转向系统通常需要大量的动力来维持运作。

不过,与大多数车辆使用的传统系统相比,特斯拉的新型动力转向系统采用了更少的零部件。此外,特斯拉指出,该系统除了更紧凑、更高效之外,还包括几个故障保护装置,以提升车辆的安全性。该公司在专利中提到的“故障保护装置”可在车辆发生故障时,保护车辆的敏感部件。
特斯拉没有详细解释效率得以提高的原因,现在也尚未知晓是否该紧凑型动力转向系统会应用于特斯拉即将推出的车型,不过效率得以提高就可以在不增加电池容量的情况下,增加特斯拉电动汽车的续航里程。
来源:网络
哇啰汽车整理,转载请注明出处:http://www.vano9.com/6438.html
文章评论